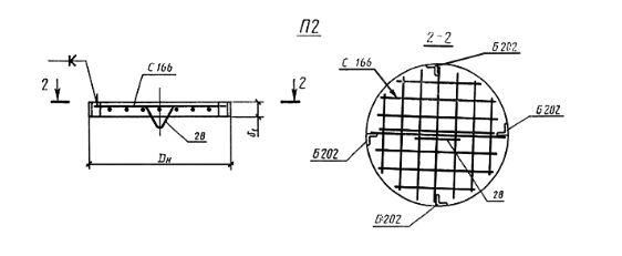
П 2

Чертеж изделия:
Характеристики изделия:
ПараметрЗначение
длина650 мм
ширина650 мм
высота50 мм
масса42,5 кг
нормативный документГОСТ 22687.3-85

П 2  Подпятники ГОСТ 22687.3-85.