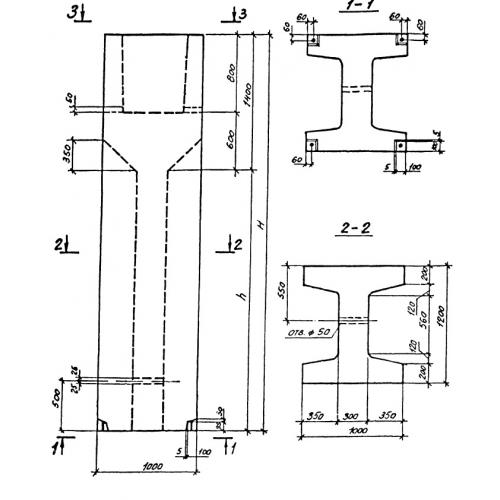
ВБ 10.12.39

Чертеж изделия:
Характеристики изделия:
ПараметрЗначение
длина1000 мм
ширина1200 мм
высота3890 мм
вес8110 кг
серия0-221-84

ВБ 10.12.39 Блоки-стаканы верхние по серии 0-221-84.