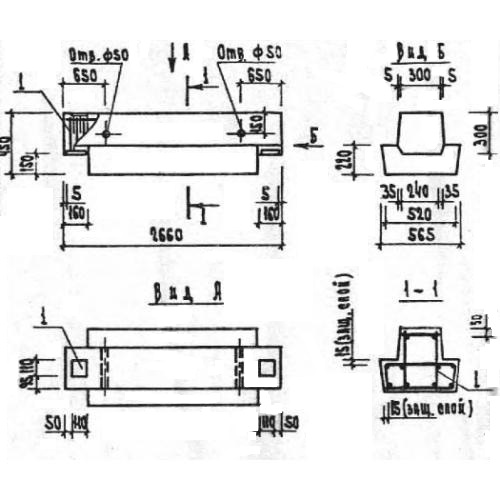
РДП 4.27

Чертеж изделия:
Характеристики изделия:
ПараметрЗначение
длина2660 мм
ширина550 мм
высота450 мм
масса1145 кг
нормативный документСерия 1.020-1

РДП 4.27  Ригели с двумя полками  Серия 1.020-1.