ПС 72.12.4.0 панели стеновые
Характеристики изделия:
| Параметр | Значение |
|---|---|
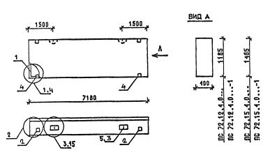
| длина | 7180 мм |
| ширина | 400 мм |
| высота | 1185 мм |
| масса | 4900 кг |
| нормативный документ | Серия 1.030.1-1/88 |
Цена:
Рассчитать стоимостьПС 72.12.4.0 Панели стеновые Серия 1.030.1-1/88.
| Параметр | Значение |
|---|---|
| длина | 7180 мм |
| ширина | 400 мм |
| высота | 1185 мм |
| масса | 4900 кг |
| нормативный документ | Серия 1.030.1-1/88 |
ПС 72.12.4.0 Панели стеновые Серия 1.030.1-1/88.