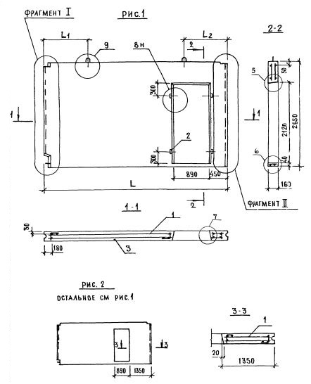
ПСВ 65-27-16-150т-1.2.1.2

Чертеж изделия:
Характеристики изделия:
ПараметрЗначение
длина6490 мм
ширина160 мм
высота2650 мм
масса6100 кг
нормативный документСерия 1.131.1-23

Серия 1.131.1-23

ПСВ - Панель стеновая внутренняя.

65 - длина (в дм);

27 - высота (в дм);

16 - толщина (в мм);

150 т - марка и вид бетона (из тяжелого бетона (т) марки по прочности на сжатие М150);

1,2,1,2 - индексы, характеризующие положение панелей в плане здания и их конструктивные особенности ( 1-панели поперечных стен или панели продольных стен, примыкающих к торцу здания; 2 - панель с проемом, 1 - ширина проема 890 мм; 2 - ширина меньшего простенка 450 мм).