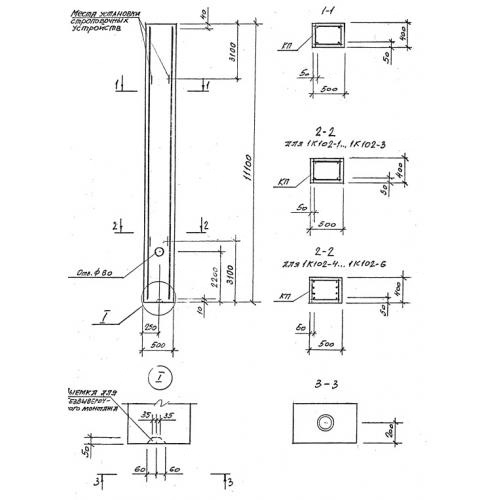
1К 102 колонны

Чертеж изделия:
Характеристики изделия:
ПараметрЗначение
длина11100 мм
ширина500 мм
высота400 мм
масса5600 кг
нормативный документСерия 1.423.1-5/88

1К 102 Колонны  Серия 1.423.1-5/88.