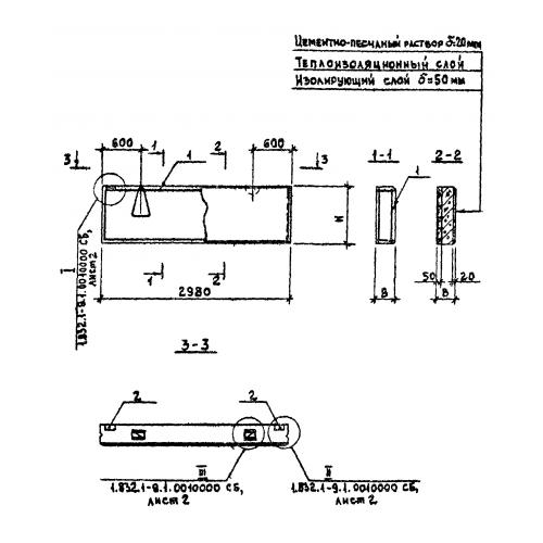
ПСД 30.9.20

Чертеж изделия:
Характеристики изделия:
ПараметрЗначение
длина2980 мм
ширина200 мм
высота880 мм
вес880 кг
серия1.832.1-9

ПСД 30.9.20 Панели стеновые двухслойные по серии 1.832.1-9.