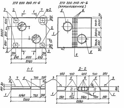
ПТО 200.240.14 плиты лотков
Характеристики изделия:
| Параметр | Значение |
|---|---|
| длина | 2000 мм |
| ширина | 2380 мм |
| высота | 140 мм |
| масса | 1680 кг |
| нормативный документ | Серия 3.006.1-8 |
Цена:
Рассчитать стоимостьПТО 200.240.14 Плиты перекрытия каналов с отверстиями Серия 3.006.1-8.