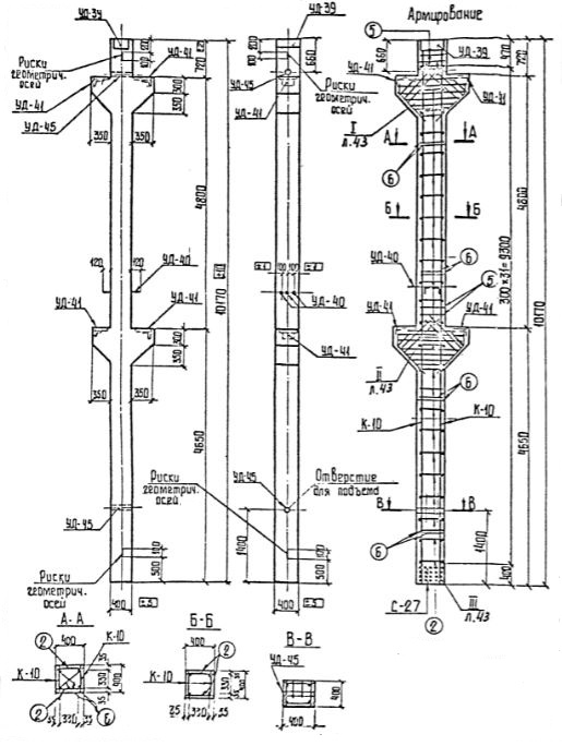
ТК 36 колонна

Чертеж изделия:
Характеристики изделия:
ПараметрЗначение
длина10170 мм
ширина400 мм
высота400 мм
масса4700 кг
нормативный документСерия 3.407-102

ТК 36  Армированные бетонные колонны Серия 3.407-102.