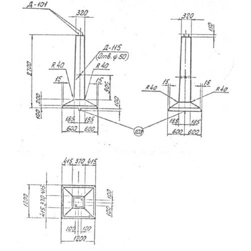
Ф 1 Фундаменты грибовидные подножники

Чертеж изделия:
Характеристики изделия:
ПараметрЗначение
длина1200 мм
ширина1200 мм
высота2700 мм
масса1480 кг
нормативный документСерия 3.407-115

Ф 1 Фундаменты грибовидные подножники Серия 3.407-115.