4ПО 20

Чертеж изделия:
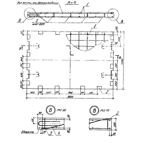
Характеристики изделия:
ПараметрЗначение
длина3000 мм
ширина2000 мм
высота200 мм
вес3000 кг
серия3.505.1-16

4ПО 20 Плиты омоноличенные по серии 3.505.1-16.