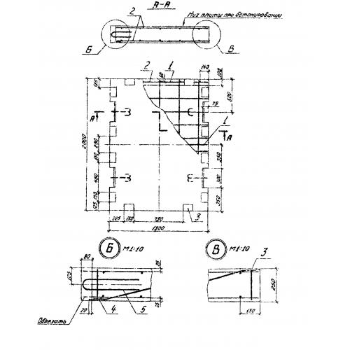
6ПО 25

Чертеж изделия:
Характеристики изделия:
ПараметрЗначение
длина1500 мм
ширина2000 мм
высота250 мм
вес1800 кг
серия3.505.1-16

6ПО 25 Плиты омоноличенные по серии 3.505.1-16.