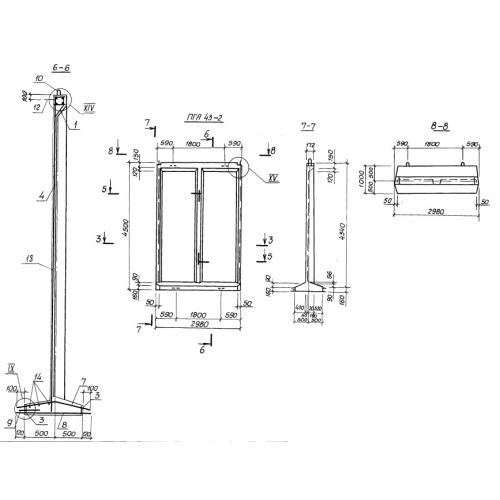
ПГА 43 Панели перегородок

Чертеж изделия:
Характеристики изделия:
ПараметрЗначение
длина2980 мм
ширина4500 мм
высота1000 мм
масса3480 кг
нормативный документСерия 3.900.-3

ПГА 43 Панели перегородок для аэротенков по Серии 3.900.-3.