ФЖ 15

Чертеж изделия:
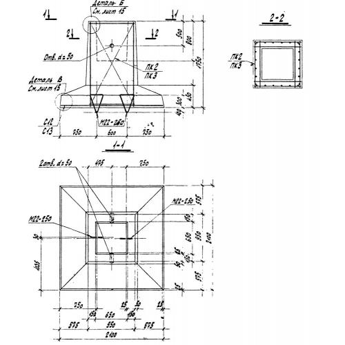
Характеристики изделия:
ПараметрЗначение
длина2100 мм
ширина2100 мм
высота1750 мм
масса6700 кг
нормативный документСерия 71159-С

ФЖ 15  Фундаменты колонн стаканного типа по Серии 71159-С.