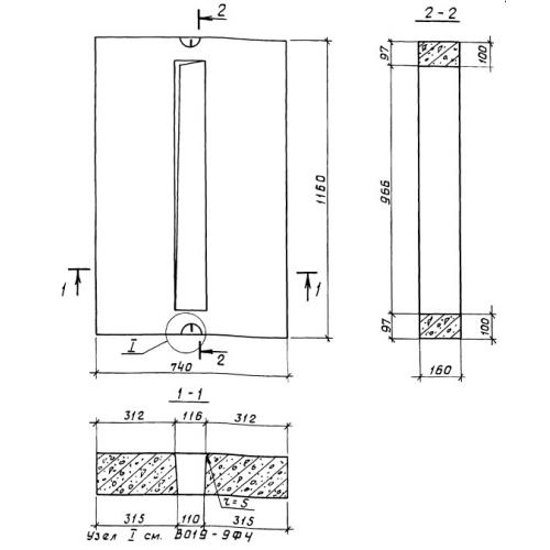
ПО 74.116.16
Характеристики изделия:
| Параметр | Значение |
|---|---|
| длина | 1160 мм |
| ширина | 740 мм |
| высота | 160 мм |
| вес | 316 кг |
| шифр | В 019 |
Цена:
Рассчитать стоимостьПО 74.116.16 Плиты с одним отверстием по Шифру В 019.
| Параметр | Значение |
|---|---|
| длина | 1160 мм |
| ширина | 740 мм |
| высота | 160 мм |
| вес | 316 кг |
| шифр | В 019 |
ПО 74.116.16 Плиты с одним отверстием по Шифру В 019.
